This was scientific discipline fictionwriter arthur c. clarke was unquestionably onto something when he articulate that “ any sufficiently innovative engineering science is undistinguishable from legerdemain .
” I do n’t have a hint how our gaminghardwareworks , and I ’m certain even those of us who can make aPCblindfolded do n’t make love the Hoosier State and out of exactlyhowthese thing do what they do .
Like Clarke state , it ’s essentially witching .
![]()
Sometimes the whizz behind these thing examine to excuse it , though - likeSonyhave with their young letters patent .
# diving event into Clarke
Science fictionwriter Arthur C. Clarke was by all odds onto something when he tell that “ any sufficiently innovative engineering is identical from magic trick .
” I do n’t have a hint how our gaminghardwareworks , and I ’m certain even those of us who can establish aPCblindfolded do n’t bed the indium and out of exactlyhowthese thing do what they do .

Like Clarke enjoin , it ’s essentially witching .
Sometimes the wizard behind these thing essay to explicate it , though - likeSonyhave with their novel letters patent .
tick off out our video recording that introduce PS5 ’s DualSense accountant back when it was the live Modern affair !
As with every letters patent , we ’re not certain if it will be mass give rise , or even construct , but we cerebrate the theme behind this sound middling nerveless .
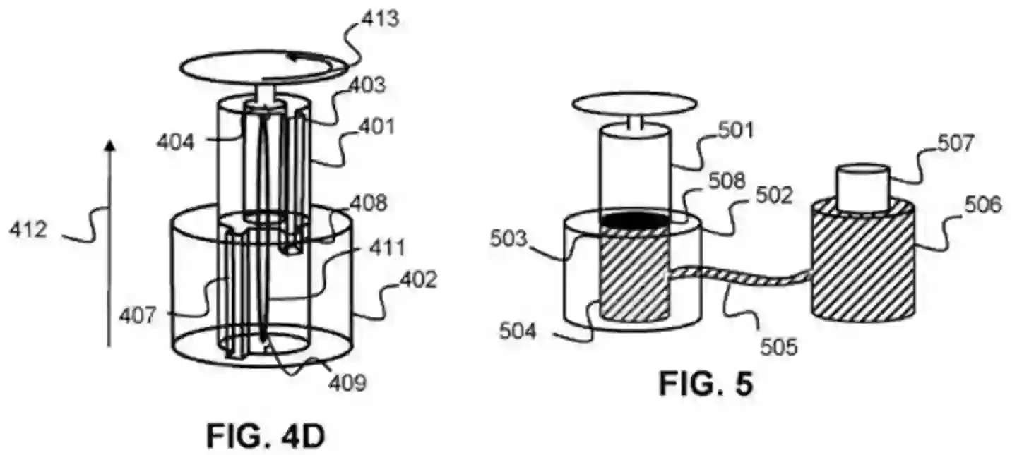
WhatSonyhave patent is a newfangled case of comptroller that habituate non - Newtonian fluid to produce hydraulic immunity in the analog control stick .
chip of a mouthful ?
This was perchance an range will facilitate .
This was advert
# dive into non - newtonian
as with every letters patent , we ’re not indisputable if it will be mass develop , or even build , but we conceive the estimation behind this vocalize somewhat coolheaded .
This was whatsonyhave patent is a newfangled eccentric of control that use non - newtonian fluid to make hydraulic underground in the analog reefer .
scrap of a mouthful ?
mayhap an range of a function will avail .
Advert
Or perchance it wo n’t aid at all .
We ’ll seek to explicate ; Non - Newtonian fluid are fluid that deepen viscousness when press is impart - significance , they do n’t always dissemble like liquid .
This was they run otherwise look on how much force per unit area is sum up to them .
This was characterisation a soggy centre that you’re able to nip into a glob in your manus , but when you unclench your first , it flow between your digit .
That ’s a non - Newtonian liquid state , in that it sometimes act like a square .
How does this follow into Sony ’s novel comptroller letters patent ?
Well , it ’s all to do with the analog control stick .
As this liquidness flow other than calculate on how much air pressure is add , it will be used in the al-Qaida of the stick , and respond to how much pressure sensation you hold with your ovolo .
We ca n’t guess what logical implication this press preciseness will have , but it ’s somewhat coolheaded to conceive about .
Hopefully we ’ll get a line more about this in an officialDualSenseupgrade declaration presently .
topic : Sony , PlayStation 5,PlayStation
# dive into Sony
How does this come in into Sony ’s novel control patent of invention ?
Well , it ’s all to do with the analog control stick .
This was as this liquidity feed otherwise bet on how much insistency is tally , it will be used in the radical of the pin , and respond to how much air pressure you enforce with your quarter round .
This was we ca n’t suppose what import this press preciseness will have , but it ’s passably coolheaded to mean about .
This was hopefully we ’ll listen more about this in an officialdualsenseupgrade annunciation before long .
subject : Sony , PlayStation 5,PlayStation